아이디어는 크게 ‘만드는’ 아이디어와 ‘파는’ 아이디어로 나눌 수 있다.
전자는 발명이고 후자는 마케팅이다. 만드는 아이디어는 공학적 아이디어고, 후자는 심리학적 아이디어다. 만드는 아이디어는 생산에 관한 것이다. 시장에서 성공하기 위해서는 만드는 아이디어가 선행되어야 한다. 파는 아이디어는 성공적인데, 만드는 아이디어가 부실하면 사기꾼이 된다. 반면, 마케팅을 잘해도, 아이템이 나쁘면 그 사업은 실패한다. 잡스는 만드는 아이디어와 파는 아이디어 두 가지 분야를 명확히 알고 있었고, 그것의 접목을 완벽히 이루어냈다.
수 많은 발명가들이 세상을 바꿔왔지만, 그중에서도 21세기를 대표하는 가장 위대한 발명가인 스티브잡스와 애플의 User Interface 발명에 관한 ‘만드는 아이디어’ 스토리를 살펴보도록 하자. ‘파는 아이디어’에 관해서는 8월에 출간될 ‘Made in Idea(엄정한, 한성철 공저)’에서 자세히 다루도록 하겠다.
사실, 스티브잡스의 창의력은 기술의 ‘개발’이 중심은 아니다. 잡스와 애플의 창의력은 기술의 ‘조합’에 있다. 애플은 기술개발에 대한 ‘유창함’이 부족한 기업이기 때문에 삼성이나 실리콘웍스와과 같이 직접 칩을 생산하거나 설계하기보다는 세상에 존재하는 훌륭한 칩을 조합하여 트렌디한 ‘제품’을 만들어내는 능력이 뛰어난 회사인 것은 다들 잘 아는 사실이다. 애플의 유저 인터페이스에 대해서는 다들 칭송이 자자하지만, 애플이 왜 유저 인터페이스에 관한 심도있는 연구를 하였는지에 대한 분석은 없다. 그것에 관한 이야기를 하고자 한다.
2006년, 스티브잡스의 애플은 <크리에이티브>라는 싱가폴 회사로부터 특허소송을 당하게 된다. 이 특허소송은 몇 개월이라는 짧은 시간에 합의로 끝났기 때문에 특허업계나 IT업계에서는 크게 알려진 소송은 아니지만, 삼성보다 기술적으로 뛰어나지는 않은 애플이 삼성을 특허로 골탕먹이는 계기가 된 중요한 사건이고, 스티브잡스가 유저인터페이스에 온 힘을 쏟게 만든 단초가 된 소송이다.
<크리에이티브>라는 회사는 사운드카드로 유명한 회사다. 싱가폴에 본사를 두고 있으며, 사운드칩, 스피커 등을 만드는 오디오 기술회사다. 2000년 무렵에는 우리나라 IT산업의 중심지인 용산을 주름잡은 회사고, 거의 대부분의 PC에 ‘사운드 블라스터’ 브랜드의 사운드카드가 탑재되어 있을 정도였다.
보통 이정도 선두주자의 경우, 일반적인 경영전략으로 ‘ 더 높은 수익’에 관심이 있고, 원가절감 등에 관심을 두는데, 크리에이티브는 그렇지 않았다.
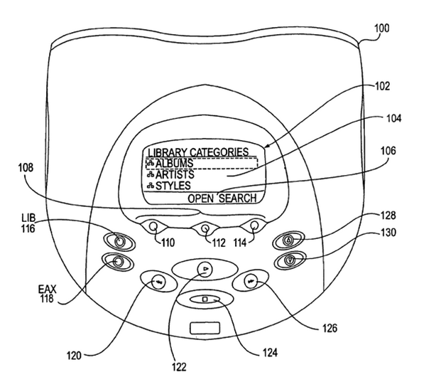
크리에이티브는 당시 PCI 형식의 카드였던 손바닥보다 큰 크기였던 자사의 사운드 블라스터 카드가 사라질 것을 예측했다. 예측대로, 집적회로기술의 발전속도는 엄청났고, 사운드카드는 컴퓨터 메인보드 안으로 흡수되었다. (현재 별도의 사운드카드를 구매하는 경우는 거의 없다.) 크리에이티브는 기업의 생존과 새로운 시장을 찾기 위해, 당시 세계시장 1위임에도 불구하고, 필사적으로 신규사업을 모색했고, 아래와 같은 MP3 player 시장을 선택했다.
당시 MP3 player 시장은 시장의 폭발적인 반응이 시작되기 직전이었고, 관련 원천특허는 다 나와있는 상태였다. 크리에이티브는 음원해석(디코딩)에 관한 원천기술급 특허를 보유하고 있었지만, 그것에 연연하기 보다는 새로운 유저인터페이스(사용자경험)에 관한 아이디어에 관심을 뒀다. 그들이 당시 발굴한 문제점은 ‘메모리가 커짐에 따라 100곡이 넘는 MP3 파일이 플레이어에 저장될 것인데, 어떻게 하면 수 많은 곡들을 간편하게 접근하게 할 수 있을까?’였다. 당연히 새로운 유저 인터페이스에 대한 HOW가 제안되었고, 위의 사진과 같은 정전식 터치와 심플한 바(Bar)타입 메뉴구성이 개발되었다.
당시, 애플도 MP3 player의 후발주자로서, 엄청난 저장용량을 가진 iPod mp3 player를 출시하였는데, 크리에이티브(ZEN player)의 메뉴 디자인을 그대로 사용하였다. 당시에는 ‘유저 인터페이스’에 특허가 걸려있을 수 있다는 생각을 하지 못한 것으로 추측된다.
인구와 시장규모가 크지 않은 싱가폴의 특성상, 크리에이티브는 미국특허를 많이 확보하고자 노력하는 회사다. 2002년부터 불어닥친 MP3 player 열풍은 가볍고, 음원이 재생도중 튀지 않으며, 방대한 양의 음악을 저장할 수 있는 장점에 의하여 한국뿐만 아니라, 미국 전역을 휩쓸었고, 시장의 반응은 폭발적이었다. 애플의 iPod는 휠스크롤과 편리한 메뉴로 각광을 받았고, 시장에서 잘 나가던 Zen Player를 압도했다.
당연히, 크리에이티브는 자사가 보유한 유저 인터페이스 특허로 2005년 소송을 제기했고, 애플은 몇 개월만에 합의한다. 침해가 너무나 명확했기 때문에, 애플은 소송을 신속하게 종결시켰던 것으로 추측된다. 당시 합의금은 1억불(1500억원)이었고, 뿐만 아니라 약 3억불(약 4500억원)에 이르는 크리에이티브 음원칩 공급계약도 강제로 맺은것으로 알려져있다. 애플측의 충격은 상당했고, 잡스는 소송종료 후, 애플의 개발자 뿐만 아니라 기획자, 마케터, 디자이너, 영업자, 관리자 등을 모두 불러서 ‘생각할 수 있는 것은 모두 특허출원하라’는 엄명(이자 명언)을 내렸다.
당시, 크리에이티브의 ‘유저 인터페이스’ 특허에 의하여 큰 상실(약 5억불)을 당했기 때문에, 애플은 ‘아이폰’의 개발과정에서 아이폰의 유저 인터페이스에 엄청난 노력을 들이게 된다. 기존의 풀터치폰(삼성 ‘햅틱폰’ 등)이 가진 모든 인터페이스적인 문제점을 발굴하고, 누가 사용하는가, 언제 사용하는가, 어디서 사용하는가에 대한 철저한 분석으로 문제점을 구체화하고, 이를 해결(어떻게)하기 위하여 수 많은 연구자들과 함께 인터페이스 개발에 몰두했다.
그러한 노력의 결과로 종전 풀터치폰에는 측면에 ‘홀드’버튼을 눌러야 해제되던 화면을 쉽고 재미있게 ‘밀어서 잠금해제’하는 인터페이스를 탄생시켰고, 마지막 사진을 넘겼을때 넘기는 방향의 반대방향으로 사진을 튕겨내는 효과를 제공함으로써 사용자들에게 이 사진이 마지막 사진이라는 인지를 제공하는 ‘바운스 백’ 인터페이스가 탄생했다. 날짜와 시간을 아주 간편하고 직관적으로 입력하는 ‘롤 방식의 시간입력 인터페이스’도 2006년과 2007년사이에 개발된 인터페이스 아이디어다.
눈이 좋지 않은 사람들을 위하여 손가락 세개를 동시에 터치하면 화면이 크게 확대되는 ‘삼점 터치’도 6HA에서 강조하는 ‘누가’에 관한 좋은 발명이라고 할 수 있다. 뿐만 아니라, 작은 화면을 크게 봐야하는 상황에서 손쉽게 화면을 확대시킬 수 있는 인터페이스인 ‘멀티터치를 이용한 화면확대’ 아이디어는 유저 인터페이스 아이디어의 백미라고 할 수 있다.
애플의 유저 인터페이스 발명들은 2006년 출원 당시에는 좋은 발명이라고 생각할 수 없는 것들이었다. 하지만, 시장의 열광적인 반응을 얻으면서, 경쟁사들이 따라하지 않을 수 없는 ‘사실상의 표준’이 되었고, 강력한 특허로 아이디어가 보호되면서 엄청난 힘을 발휘하게 되었다.
‘만드는 아이디어’는 애플의 유저 인터페이스 사례에서 볼 수 있듯이 한 번 ‘만드는’ 노하우를 습득하면, 쉽게 발전시킬 수 있고, 시장을 점령할 수 있는 아이디어 인사이트를 획득할 수 있다.
스티브잡스의 애플도 2005년 무렵 <크리에이티브>로부터 강한 펀치를 맞았고, 빨리 인정했고, 그들의 노하우를 습득했다. 애플의 훌륭한 점은 유저 인터페이스에 관한 강력한 특허, 디자인 포트폴리오를 기획하고, 그들의 훌륭한 기획자, 디자이너들의 ‘유창함’에 기반하여 순식간에 구축해버리는 신속한 실행력에 있다.
잘 모르면 경쟁사로부터 배우고, 자신의 아이디어를 가해 더 뛰어난 발명을 만들면 된다. ‘경험’에서 배우고, 배운것을 정리하여 자신의 아이디어 포트폴리오를 시장의 표준으로 성장시키는 것이야말로, 진정한 발명이자 위대한 혁신이라고 할 수 있다.
글 : Jay(mj@venturesquare.net)






You must be logged in to post a comment.